
Porsche has filed a new patent for a transmission gear selector that can operate like a manual or an automatic, depending on the driver's preference. The automaker filed for the patent in August 2024 with the German Patent and Trademark Office, but it was not published until early March.
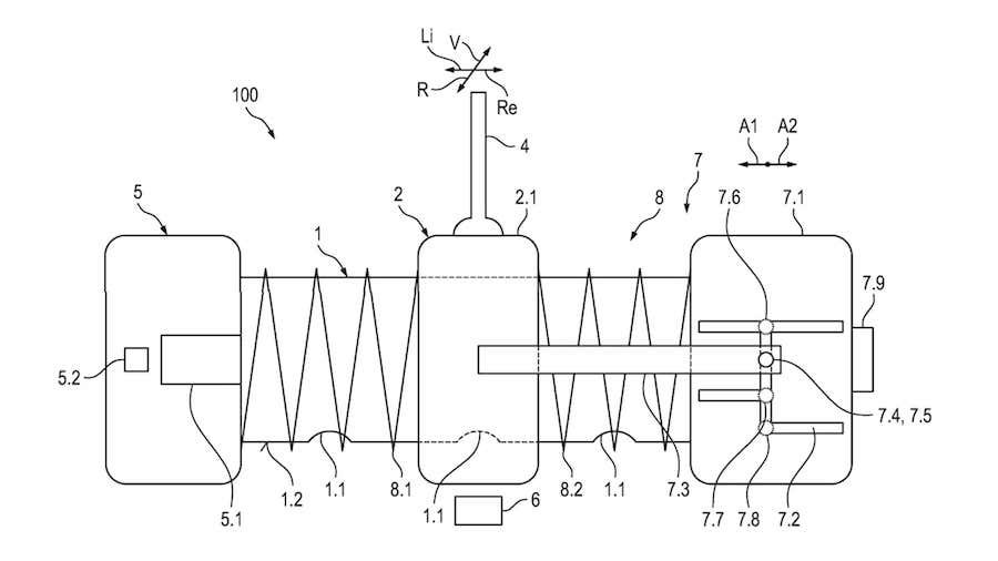
The patent, first discovered by CarBuzz, details a shift-by-wire gear selector that can operate like a standard automatic. The selector can move forward and backward, cycling through drive, neutral, and reverse.
The selector also has an H-pattern option that allows the driver to move the shifter left and right, as well as forward and backward. The driver can then select the desired gear as they would with a mechanical manual gearbox.
Sensors track the lever’s movements, with springs and electric motors recreating the feel of shifting gears. It would allow Porsche to provide a manual-like experience regardless of the transmission underneath, whether it's a standard torque-converter automatic or a dual-clutch.
While this sounds like a nifty idea—and reminiscent of Koenigsegg's clever "Light Speed Transmission"—it is still a patent. That means there's a chance we might never see this technology in a production vehicle, considering that automakers file patents all the time for things that never become reality. Here's hoping, at least.
Related News